上泰PH计PC-3110的pp电极和保护管的组装方法
2022/5/14 14:16:30 点击:
上泰PH计PC-3110的pp电极和保护管的组装方法-感測電極及電極保護管的組合
1上泰PH计電極纜線剝線方法
a. 透明中-心軸線外層披覆導電橡皮層與金屬網層,剝線時先將金屬網線層剝離捲成如圖示之金屬網線並加上熱縮套管,且務必將透明中-心軸線外之導電膠皮層依上圖方式剝離。
b. 纜線延伸到主機,除專用的接線盒外,中間不能有 接點,需直接將纜線的透明中心軸線接到主機背面的 GLASS 接點,金屬網線接到 Ref.接點。

2. 先將( H)感測電極頭適當潤濕,以方便穿入( I)橡膠電極座內,下沿露出約 5cm。
3. 將套好之( I)橡膠電極座套回( G) PP 電極保護管內,並將( J) PP 管保護套鎖緊。
4. 將( H)感測電極之纜線穿過( D)圓形接線盒下蓋及( C)電纜固定頭 MG16A,將( D)圓形接線盒下蓋壓緊套住( G) PP 電極保護管。
注意: (F)O 形環需正確套入(G)PP 電極保護管溝槽內。
5. 預留 15cm 纜線於 PP 管內後將( C)電纜固定頭 MG16A 鎖緊,並於上方預留( H)感測電極之纜線約 12~14cm 後,依電極纜線剝線方法剝線。 (電纜固定頭 MG16A 務必鎖緊,以達F水xiao果)
6. 將電極中-心軸端子固定在圓形接線底座 1 號端子座上,將電極網線端子固定在 3 號端子座上。
7. 延長纜線穿過( D)圓形接線盒下蓋上的( E)電纜固定頭 MG16A,並將其鎖緊,留 12~14cm 在盒內剝線。 (電纜固定頭 MG16A 務必鎖緊,以達F水的xiao果)
8. 延長導線中-心軸在 1 號端子座與電極中-心軸並接,延長纜線網線固定在 3 號端子座與電極網線並接,鎖緊( A)圓形接線盒上蓋,完成組裝。
注意: (B)O 形環需正確置於(D)圓形接線盒下蓋。
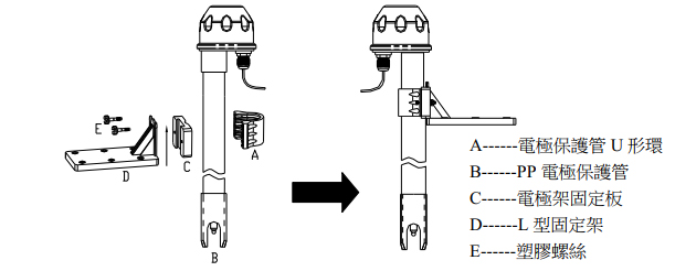
固定架組裝方式:

1. 將( C)電極架固定板套在( D) L 型固定架上。
2. 將( A)電極保護管 U 形環套在( B) PP 電極保護管上。
3. 將 1.和 2.項的組合品用( E)塑膠螺絲鎖緊固定。
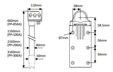
3 上泰PH计電極PP 電極保護管及 L 型固定架安裝尺寸說明:
8-26-7:塑膠電極固定架
塑膠材質: PP
使用溫度不得高于: 80°C
1上泰PH计電極纜線剝線方法
a. 透明中-心軸線外層披覆導電橡皮層與金屬網層,剝線時先將金屬網線層剝離捲成如圖示之金屬網線並加上熱縮套管,且務必將透明中-心軸線外之導電膠皮層依上圖方式剝離。
b. 纜線延伸到主機,除專用的接線盒外,中間不能有 接點,需直接將纜線的透明中心軸線接到主機背面的 GLASS 接點,金屬網線接到 Ref.接點。

2 PP 電極保護管組裝方式 :
2. 先將( H)感測電極頭適當潤濕,以方便穿入( I)橡膠電極座內,下沿露出約 5cm。
3. 將套好之( I)橡膠電極座套回( G) PP 電極保護管內,並將( J) PP 管保護套鎖緊。
4. 將( H)感測電極之纜線穿過( D)圓形接線盒下蓋及( C)電纜固定頭 MG16A,將( D)圓形接線盒下蓋壓緊套住( G) PP 電極保護管。
注意: (F)O 形環需正確套入(G)PP 電極保護管溝槽內。
5. 預留 15cm 纜線於 PP 管內後將( C)電纜固定頭 MG16A 鎖緊,並於上方預留( H)感測電極之纜線約 12~14cm 後,依電極纜線剝線方法剝線。 (電纜固定頭 MG16A 務必鎖緊,以達F水xiao果)
6. 將電極中-心軸端子固定在圓形接線底座 1 號端子座上,將電極網線端子固定在 3 號端子座上。
7. 延長纜線穿過( D)圓形接線盒下蓋上的( E)電纜固定頭 MG16A,並將其鎖緊,留 12~14cm 在盒內剝線。 (電纜固定頭 MG16A 務必鎖緊,以達F水的xiao果)
8. 延長導線中-心軸在 1 號端子座與電極中-心軸並接,延長纜線網線固定在 3 號端子座與電極網線並接,鎖緊( A)圓形接線盒上蓋,完成組裝。
注意: (B)O 形環需正確置於(D)圓形接線盒下蓋。
固定架組裝方式:

1. 將( C)電極架固定板套在( D) L 型固定架上。
2. 將( A)電極保護管 U 形環套在( B) PP 電極保護管上。
3. 將 1.和 2.項的組合品用( E)塑膠螺絲鎖緊固定。
3 上泰PH计電極PP 電極保護管及 L 型固定架安裝尺寸說明:
8-26-7:塑膠電極固定架使用溫度不得高于: 80°C
- 上一篇:美国DWYER德威尔差压表2000系列的常见应用问题反馈 2022/5/17
- 下一篇:怎样选择双电控防爆电磁阀ASCO品牌VCEFCM8551H4 2022/5/13


